Email Us
Products
3V2 Solenoid Valve 3 Way
  • 3V2 Solenoid Valve 3 Way3V2 Solenoid Valve 3 Way
  • 3V2 Solenoid Valve 3 Way3V2 Solenoid Valve 3 Way

3V2 Solenoid Valve 3 Way

The following is an introduction to 3V2 solenoid valve 3 way, OLK hope to help you better understand 3V2 solenoid valve 3 way. Welcome new and old customers to continue to cooperate with us to create a better future together!

The 3V2 solenoid valve is small, light, and easy to install. Its body is made of strong aluminum, which resists rust and damage. The valve uses a reliable solenoid coil with options for DC12V, DC24V, AC110V, or AC220V power.

This OLK brand 3V2 solenoid valve works well for medium-flow air control. It switches quickly, uses little power, and lasts a long time. It can be normally closed (NC), normally open (NO), or double-solenoid. It is often used in automation lines, packaging machines, printing machines, and food machines. Its small size makes it perfect for tight spaces.

3V2 solenoid valve 3 way Products characteristic

1.Direct-acting structure with sensitive switching.

2.Normally closed (NC) and normally open (NO) types available.

3.Coaxial shut-off design for good sealing and large flow.

4.No lubrication required.

5.Equipped with a manual override for easy installation and testing.

6.Multiple standard voltage options available.

3V2 valve Symbol :

Ordering code

3V

2

-

08

NC

A

 

 

 

Model

Code

 

 Port size

Acting type

Standard voltage

Electrical entry

Thread type

 

3V:2 position 3 way

2:2 series

 

06:G1/8

NC:normally closed

A:AC220V

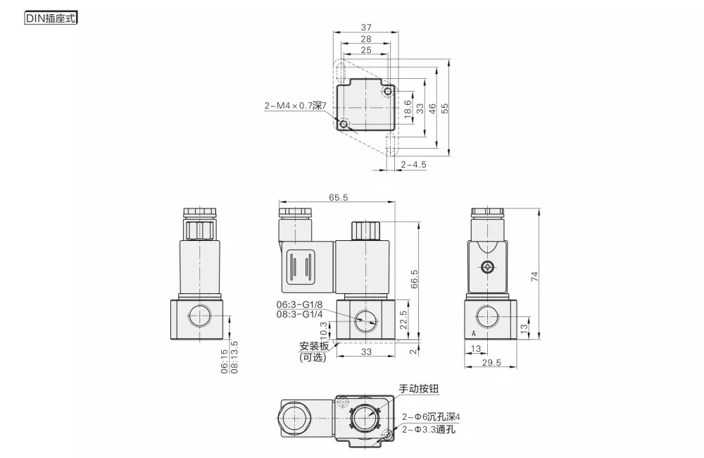
Blank:DIN type

Blank:G

 

 

 

 

08:G1/4

NO:normally opened

B:DC24V

I: Line type

T:NPT

 

 

 

 

 

 

C:AC110V

 

 

 

 

 

 

 

 

E:AC24V

 

 

 

 

 

 

 

 

F:DC12V

 

 

 


Model

3V206

3V208

Working Medium

Air (filtered by 40 μm or above filter)

Air (filtered by 40 μm or above filter)

Acting Type

Direct Acting

Port Size

G1/8

G1/4

Position & Way

2 Position 3 way

Effective Area

3.2 mm²(Cv = 0.18)

3.4 mm² (Cv = 0.19)

Lubrication

Not required

Operating Pressure Range

0 ~ 0.8 MPa (0 ~ 114 psi)

Proof Pressure

1.5 MPa (215 psi)

Operating Temperature (℃)

-20 ~ 70

Body Material

Aluminum Alloy

 

Standard voltage

AC220V AC110 AC24V  DC24V  DC12V

Voltage Range

AC:±15% DC :±10%

Power Consumption

AC:7VA DC:7.0W

Protection Class

IP65(DIN40050)

Insulation Grade

B Level

Connecting Type

DIN Plug Type/Line Type

Min.Excitation Time

0.05 Sec


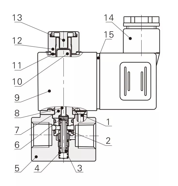
No.

Name

1

Countersunk Screw

2

Spacer Sleeve

3

Core Assembly

4

Spring

5

Body

6

Gasket

7

Solenoid Assembly

8

Plunger Rod

9

Coil

10

Moving Iron Core

11

Fixed Washer

12

Fixed Nut

13

Manual Button

14

Terminal

15

Terminal Gasket


Item

3V1-M5/3V1-06

2V025-06/2V025-08

3V2-06/3V2-08

3V3-08

Working Medium

Air

Air,Water,Oil

Air

Air

Initial State:

NC

NC/NO

NO/NC

NO/NC

Actuation Type

Direct Acting

Direct Acting

Direct Acting

Direct Acting

Port Size

M5;G1/8

G1/8;G1/4

G1/8;G1/4

G1/4

Position & Way

3 Port 2 Position

2 Port 2 Position

3 Port 2 Position

3 Port 2 Position

Lubrication

Not Required

Not Required

Not Required

Not Required

Working Pressure

0–0.7 MPa

0–0.7 MPa

0–0.8 MPa

0–0.8 MPa

Proof Pressure

1.2 MPa

1.5 MPa

1.2 MPa

1.2 MPa

Orifice Size

φ1.2 mm

φ2.5 mm

Φ3.2 mm/φ3.4 mm

Φ11 mm(large air flow)


FAQs:

Q:What's the main different between 3V2 and 3V3 solenoid valve ?

A: 3V2:middle flow,suit for small pneumatic control system

3V3:high flow ,suit for multiple cylinders or high-flow applications.

Structure difference: 3V3 has a larger body and can handle higher pressure and flow.


Q:What is 3V2 solenoid valve orifice size?

A:3V2-06 valve orifice size is 3.2mm;3V2-06 valve orifice size is 3.4mm


Q: Which products can OLK 3V2 replace?

A: OLK 3V2 can replace AIRTAC 3V2 series solenoid valves with the same function and similar specifications.


Hot Tags: 3V2 Solenoid Valve 3 Way, China, Manufacturer, Supplier, Factory
Send Inquiry
Contact Info
Welcome to our website! For inquiries about our products or pricelist, please leave your email to us and we will be in touch within 24 hours.
E-mail
cici@olkptc.com
Mobile
+86-13736765213
Address
Zhengtai Road, Xinguang Industrial Zone, Liushi, Yueqing, Wenzhou, Zhejiang, China.
X
We use cookies to offer you a better browsing experience, analyze site traffic and personalize content. By using this site, you agree to our use of cookies. Privacy Policy
Reject Accept