Email Us
Products
CV Vacuum Generators
  • CV Vacuum GeneratorsCV Vacuum Generators
  • CV Vacuum GeneratorsCV Vacuum Generators
  • CV Vacuum GeneratorsCV Vacuum Generators
  • CV Vacuum GeneratorsCV Vacuum Generators
  • CV Vacuum GeneratorsCV Vacuum Generators

CV Vacuum Generators

Model:CV-10HS
As a professional CV vacuum generators manufacture, you can rest assured to buy CV vacuum generators from our factory and OLK will offer you the best after-sale service and timely delivery.

Ouleikai (OLK) CV vacuum generators are used to provide the vacuum environment needed for suction nozzles or fixtures. The intake port should be connected to compressed air, while the suction cup is connected to the vacuum port. When compressed air flows from the intake port to the exhaust port, a vacuum is generated at the vacuum port. This vacuum force can be used to adhere objects, achieving tasks like fixing or supporting, thereby improving operational efficiency in industrial production.


OLK CV vacuum generators have a simple structure and a long service life.


CV series vacuum generator features:

1.A vacuum generator that uses compressed air to form a vacuum can be used in combination with a vacuum sucker to transport materials.

2.Vacuum generators with a wide range of types and performance to meet your application requirements.CV series is plate vacuum generator.


Symbol:

Ordering Code
CV -- 10 H S
CV series vacuum generator
Nozzle Diameter (Orifice Size) Vacuum pressure reached Rated air supply pressure


10:Φ1.0 H:-88kpar pressure  type S:5 bar


15:Φ1.5



20:Φ2.0

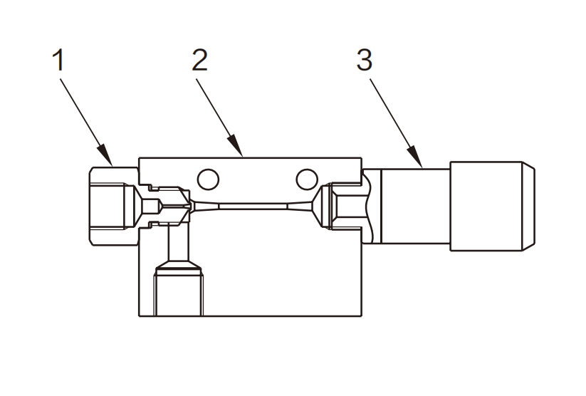
NO. Name Material
1 Supply port Brass
2 Body Aluminum
3 Silencer POM

CV series vacuum generator  General parameters 

working medium

oil-free compressed air

Working pressure range MPa(psi)

0.1~0.6

Working temperature °C

0~60 (do not freeze)

CV series vacuum generator  different parameters

Model A B C D E F G H I J/V port:Vacuum K L/P Port:air inlet O P Silencer/R port:Exhaust
CV10 45 33 16 10 8 14 20 4.5 Φ4.2 G1/8 10 G1/8 14 90 G1/8
CV15 64 35 20 11 10 20 25 5 Φ4.5 G1/4 15 G1/4 17 123.5 G1/4
CV20 85 40 30 15 13 28 32 7 Φ6 G3/8 20 G1/4 17 165.5 G1/2

model

Nozzle diameter mm

Rated pressure MPa

Suction flow R/min(ANR)

Reach vacuum pressure kPa

Air consumption flow rate R/min(ANR)

N.W(g)

CV-10HS

1

0.5

27

-0.92

44

80

CV-15HS

1.5

0.5

63

-0.92

100

140

CV-20HS

2

0.5

110

-0.92

180

350

Precautions for CV Vacuum Generator


1.The flow rate of the generator must be chosen correctly.

If the flow rate is too large and not suitable, the vacuum pressure difference between "suction on" and "suction off" will not be clear.

This may cause the vacuum switch to not work properly.

Vacuum logic valves may also have the same problem. Please pay special attention, and refer to the related notes shared before.


2.The air supply to the vacuum generator must be dry and clean.

Between the vacuum port and the suction cup, a vacuum filter should be installed if necessary.

Do not suck in water, and especially not oil, as this may block the nozzle.

The silencer outlet must not be blocked.

If you extend the exhaust pipe, please consider that poor exhaust may cause vacuum pressure to drop.


3.Sometimes the vacuum system connects a blow-off pipe to help the suction cup release the workpiece quickly.

In this case, please make sure the blow-off pressure and flow are not too high.

If too high, it may blow out the pressure detection piston and cause the generator to fail.



FAQs:

What is the difference between a vacuum generator and a vacuum pump?


A vacuum pump creates negative pressure at the suction port and exhausts directly to the atmosphere. It removes gas by maintaining a large pressure difference between the inlet and outlet.


A vacuum generator uses the flow of compressed air to create a vacuum.


What accessories are needed for the CV vacuum generator?

One silencer and two fittings


Why is there no separate suction force parameter?

Suction force depends on both the vacuum level of the generator and the size of the suction cup.

Formula: Pressure × Area = Force.

The suction cup size is fixed, but the vacuum level changes with the generator and the flow rate. Please refer to the parameter explanation for details.


Why can’t the maximum vacuum be reached?

If the suction flow is too small, it cannot overcome leakage, causing pressure drop. It may also be due to insufficient air supply to the generator.

If the generator already reaches maximum vacuum but the suction is still weak, the suction cup may be too small. Replacing the generator will not increase suction in this case.


Which vacuum generator has stronger suction?

A generator itself does not have a “suction force” parameter, only a maximum vacuum level.

Maximum vacuum is not equal to actual vacuum. The real difference between models is the vacuum flow rate.

Suction force = Vacuum × Suction cup area. It is the combination of the generator and suction cup that determines suction.

If the vacuum flow rate of a generator is too low for the application, the vacuum level will drop and suction will not be enough. In that case, you should choos

Item

Vacuum Pump

Vacuum Generator

Maximum Vacuum

Up to 101.3 kPa (can reach maximum value at the same time)

Up to 88 kPa (cannot reach maximum value at the same time)

Suction Flow Rate

Very large

Not large

Structure

Complex

Simple

Volume

Large

Very small

Weight

Heavy

Very light

Service Life

With moving parts; relatively long

No moving parts; long service life

Power Consumption

Relatively high

Relatively high

Price

High

Low

Installation

Inconvenient

Convenient

Maintenance

Required

Not required

Integration with Accessories

Difficult

Easy

Vacuum Generation and Release

Slow

Fast

Vacuum Pressure Pulsation

With pulsation, vacuum tank required

No pulsation, vacuum tank not required

Application Fields

Suitable for continuous, high-flow operation; not suitable for frequent start/stop; best for centralized use

Requires compressed air supply; suitable for intermittent low-flow operations; best for distributed use; material can be modified to achieve heat resistance and corrosion resistance

Hot Tags: CV Vacuum Generators, China, Manufacturer, Supplier, Factory
Send Inquiry
Contact Info
Welcome to our website! For inquiries about our products or pricelist, please leave your email to us and we will be in touch within 24 hours.
E-mail
cici@olkptc.com
Mobile
+86-13736765213
Address
Zhengtai Road, Xinguang Industrial Zone, Liushi, Yueqing, Wenzhou, Zhejiang, China.
X
We use cookies to offer you a better browsing experience, analyze site traffic and personalize content. By using this site, you agree to our use of cookies. Privacy Policy
Reject Accept